AmetekHaydonKerk AmetekAMS
Skip to content

Stepper Motor Theory

STEPPER MOTOR THEORY

Motors convert electrical energy into mechanical energy. A stepper motor converts electrical pulses into specific rotational movements. The movement created by each pulse is precise and repeatable, which is why stepper motors are so effective for positioning applications.

Permanent Magnet stepper motors incorporate a permanent magnet rotor, coil windings and magnetically conductive stators. Energizing a coil winding creates an electromagnetic field with a north and south pole as shown in figure 1. The stator carries the magnetic field which causes the rotor to align itself with the magnetic field. The magnetic field can be altered by sequentially energizing or “stepping” the stator coils which generates rotary motion.

Stepper Motor Linear Actuator Magnetic Field
Figure 1: Magnetic field created by energizing a coil winding

Figure 2 illustrates a typical step sequence for a two phase motor. In Step 1 phase A of a two phase stator is energized. This magnetically locks the rotor in the position shown, since unlike poles attract. When phase A is turned off and phase B is turned on, the rotor rotates 90° clockwise. In Step 3, phase B is turned off and phase A is turned on but with the polarity reversed from Step 1. This causes another 90° rotation. In Step 4, phase A is turned off and phase B is turned on, with polarity reversed from Step 2. Repeating this sequence causes the rotor to rotate clockwise in 90° steps.

Stepper Motor Linear Actuator One Phase On

Figure 2: "One phase on" stepping sequence for two phase motor.

The stepping sequence illustrated in figure 2 is called “one phase on” stepping. A more common method of stepping is “two phase on” where both phases of the motor are always energized. However, only the polarity of one phase is switched at a time, as shown in figure 3. With two phase on stepping the rotor aligns itself between the “average” north and “average” south magnetic poles. Since both phases are always on, this method gives 41.4% more torque than “one phase on” stepping, but with twice the power input.

Stepper Motor Linear Actuator Two Phase On

Figure 3: "Two phase on" stepping sequence for two phase motor.


Half Stepping

The motor can also be “half stepped” by inserting an off state between transitioning phases. This cuts a stepper’s full step angle in half. For example, a 90° stepping motor would move 45° on each half step, figure 4. However, half stepping typically results in a 15% - 30% loss of torque depending on step rate when compared to the two phase on stepping sequence. Since one of the windings is not energized during each alternating half step there is less electromagnetic force exerted on the rotor resulting in a net loss of torque.

Stepper Motor Linear Actuator - Half Stepping 

Figure 4: Half-stepping

Bipolar Winding

The two phase stepping sequence described utilizes a “bipolar coil winding.” Each phase consists of a single winding. By reversing the current in the windings, electromagnetic polarity is reversed. The output stage of a typical two phase bipolar drive is further illustrated in the electrical schematic diagram and stepping sequence in figure 5. As illustrated, switching simply reverses the current flow through the winding thereby changing the polarity of that phase.

Stepper Motor Linear Actuator - Bipolar Winding
Figure 5: Bipolar Winding


Unipolar Winding

Another common winding is the unipolar winding. This consists of two windings on a pole connected in such a way that when one winding is energized a magnetic north pole is created, when the other winding is energized a south pole is created. This is referred to as a unipolar winding because the electrical polarity, i.e. current flow, from the drive to the coils is never reversed. The stepping sequence is illustrated in figure 6. This design allows for a simpler electronic drive. However, there is approximately 30% less torque available compared to a bipolar winding. Torque is lower because the energized coil only utilizes half as much copper as compared to a bipolar coil.

Stepper Motor Linear Actuator - Unipolar Winding

Figure 6: Unipolar Winding

Other Step Angles

In order to obtain smaller step angles, more poles are required on both the rotor and stator. The same number of pole pairs are required on the rotor as on one stator. A rotor from a 7.5° motor has 12 pole pairs and each pole plate has 12 teeth. There are two pole plates per coil and two coils per motor; hence 48 poles in a 7.5° per step motor. Figure 7 illustrates the 4 pole plates of a 7.5° motor in a cut away view. Of course, multiple steps can be combined to provide larger movements. For example, six steps of a 7.5° stepper motor would deliver a 45° movement.

Stepper Motor Linear Actuator - Step Angles
Figure 7. Partial cut away showing pole plates of a 7.5° step angle motor.


Accuracy

The accuracy for can-stack style steppers is 6 - 7% per step, non-cumulative. A 7.5° stepper will be within 0.5° of theoretical position for every step, regardless of how many steps are taken. The incremental errors are non-cumulative because the mechanical design of the motor dictates a 360° movement for each full revolution. The physical position of the pole plates and magnetic pattern of the rotor result in a repeatable pattern through every 360° rotation (under no load conditions).


Resonance

Stepper motors have a natural resonant frequency as a result of the motor being a spring-mass system. When the step rate equals the motor’s natural frequency, there may be an audible change in noise made by the motor, as well as an increase in vibration. The resonant point will vary with the application and load, but typically occurs somewhere between 70 and 120 steps per second. In severe cases the motor may lose steps at the resonant frequency. Changing the step rate is the simplest means of avoiding many problems related to resonance in a system. Also, half stepping or micro stepping usually reduces resonance problems. When accelerating to speed, the resonance zone should be passed through as quickly as possible.


Torque

The torque produced by a specific rotary stepper motor is a function of:

• The step rate
• The current through the windings
• The type of drive used

(The force generated by a linear motor is also dependent upon these factors.)

Torque is the sum of the friction torque (Tf) and inertial torque (Ti).

Stepper Motor Linear Actuator - Torque Sum 

The frictional torque (ounce-inches or gram-cm) is the force (F), in ounces or grams, required to move a load multiplied by the length, in inches or cm, of the lever arm used to drive the load (r) as shown in figure 8.

Stepper Motor Linear Actuator - Torque Friction
Figure 8: Frictional torque is the force (F) required to move a load multiplied by the length of the lever arm (r). 

The inertial torque (Ti) is the torque required to accelerate the load (gram-cm2).

Stepper Motor Linear Actuator - Torque Inertia 

It should be noted that as the step rate of a motor is increased, the back electro-motive force (EMF) (i.e. the generated voltage) of the motor also increases. This restricts current flow and results in a decrease in useable output torque.


Linear Actuators

The rotary motion of a stepper motor can be converted into linear motion by several mechanical means. These include rack & pinion, belt and pulleys and other mechanical linkages. All of these options require various external mechanical components. The most effective way to accomplish this conversion is within the motor itself. The linear actuator was first introduced in 1968. Some typical linear actuators shown below.

  Haydon_26mm_Stepper_Motor_Linear_Actuator 

Figure 9: Typical linear actuators

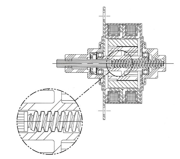
Conversion of rotary to linear motion inside a linear actuator is accomplished through a threaded nut and leadscrew. The inside of the rotor is threaded and the shaft is replaced by a lead screw. In order to generate linear motion the lead screw must be prevented from rotating. As the rotor turns the internal threads engage the lead screw resulting in linear motion. Changing the direction of rotation reverses the direction of linear motion. The basic construction of a linear actuator is illustrated in figure 10.

Stepper Motor Linear Actuator - Cut Away 

Figure 10. Linear actuator cut away showing threaded rotor to leadscrew interface.

The linear travel per step of the motor is determined by the motor’s rotary step angle and the thread pitch of the rotor nut and leadscrew combination. Coarse thread pitches give larger travel per step than fine pitch screws. However, for a given step rate, fine pitch screws deliver greater thrust. Fine pitch screws usually can not be manually “backdriven” or translated when the motor is unenergized, whereas many coarse screws can. A small amount of clearance must exist between the rotor and screw threads to provide freedom of movement for efficient operation. This results in .001” to .003” of axial play (also called backlash). If extreme positioning accuracy is required, backlash can be compensated for by always approaching the final position from the same direction. Accomplishing the conversion of rotary to linear motion inside the rotor greatly simplifies the process of delivering linear motion for many applications. Because the linear actuator is self contained, the requirements for external components such as belts and pulleys are greatly reduced or eliminated. Fewer components make the design process easier, reduce overall system cost and size and improve product reliability.


Fatigue / Life

With proper application, Haydon™ brand linear actuators deliver up to 20 million cycles and Haydon rotary motors provide up to 25,000 hours of service. Ultimately motor fatigue and resultant life are determined by each customer’s unique application. The following definitions are important for understanding motor life and fatigue.

Continuous Duty: Running a motor at its rated voltage.

25% Duty Cycle: Running a motor at double its rated voltage on an L/R drive. The motor is “on” approximately 25% of the time. The motor generates about 60% more output than at rated voltage. Note, duty cycle is not related to the load placed on the motor.

Life: A linear actuator’s life is the number of cycles that the motor is able to move at a prescribed load and maintain step accuracy. Rotary motor life is the number of hours of operation.

One Cycle: A linear actuator’s cycle consists of extending and retracting back to the original position.

There are some general guidelines which can be used to choose a proper motor and ensure maximum life. Ultimately, to determine a stepper’s performance in a given system it is best to perform testing of the final assembly in “field conditions” or in a setting which closely approximates those conditions.

Since a stepper motor has no brushes to wear out, its life usually far exceeds that of other mechanical components in a system. If a stepper does fail there are certain components which are likely to be involved. Bearings and lead screw/nut interface (in linear actuators) are typically the first components to experience fatigue. Required torque or thrust and operating environment are the factors which affect these motor components.

If the motor is run at or near its rated torque or thrust, life will be affected. Haydon Kerk Motion Solutions testing has shown that motor life increases exponentially with reduced operating loads. In general, motors should be designed in a device to run at 40% to 60% of their maximum load capability. Environmental factors such as high humidity, exposure to harsh chemicals, excessive dirt/debris and heat will all affect motor life. Mechanical factors in the assembly such as side loading of the shaft for linear actuators or an unbalanced load in rotary applications will also adversely affect life.

If the motor is used at a reduced duty cycle and excessive voltage is applied to the motor, the “on” time must be such that the maximum temperature rise for the motor is not exceeded. If the motor does not have enough “off” time, too much heat will be generated causing the windings to overheat and eventually fail.

Properly designing a system which minimizes these factors will ensure maximum motor life. The first step for maximizing life is choosing a motor which has a safety factor of two or greater. The second step is ensuring the system is mechanically sound by minimizing side loads, unbalanced loads and impact loads. The system should also dissipate heat. Air flow around the motor or mounting which provides some heat sinking are typical means for heat dissipation. If harsh chemicals are present in the system the motor and all other components must be protected. Finally, testing the motor and assembly in “field conditions” will ensure fitness for the application.

If these simple guidelines are followed, Haydon™ linear actuators provide reliable operation in a wide range of applications. If you need assistance with your design, Haydon Kerk applications engineers are available to help you get maximum life and performance from our motors.