Home Position Switch
Haydon offers a miniature electronic switch capable of monitoring the home position of Can-Stack and Hybrid captive linear actuators.The home position switch mounts on the rear sleeve of Haydon’s captive linear motors. This allows the user to identify start, stop or home positions of the actuator.Depending on your preference, contacts can be normally open or normally closed. The contact closure is repeatable to within one step position, identifying linear movements as low as 0.0005" (0.0013 cm) per step. Multiple contact switches are also available.The switch allows device manufacturers the ability to monitor movements more precisely for greater control and improved Q.C. When ordering motors with the home position switch, the part number should be preceded by an "S". Contact Haydon Kerk Motion Solutions for additional ordering information.
Activation force of 10 oz required, therefore may not be appropriate for smaller can-stack actuators.
Technical Data:
| Contact Ratings (Standard): |
1.00 AMP @ 120 VAC |
| 1.00 AMP @ 28 VDC |
| Operating Temperature: |
-30°C to +55°C (-22°F to 131°F) |
| Contact Resistance: |
< 20 milliohms typ. initial at 2-4 V DC, 100 mA |
| Electrical Life: |
Tested to 60,000 make-and-break cycles at full load |
| Schematic: |
|
| Multiple contact options available |
Dimensions = inches (mm)
S25000 Series Home Position Switch
|
| Stroke |
DIM "A" Extended
|
DIM "B" Retracted
|
.512 (13)
|
1.329 (33.76)
|
.787 (19.99)
|
.708 (18)
|
1.743 (44.27)
|
.994 (25.25)
|
.984 (25)
|
2.293 (58.24)
|
1.269 (32.23)
|
1.22 (31)
|
2.765 (70.23)
|
1.505 (38.23)
|
End of Stroke Proximity Sensor
Haydon offers a miniature Hall effect sensor capable of monitoring the end position of Can-Stack and Hybrid captive linear actuators.The sensor incorporates a Hall effect device, which is activated by a rare earth magnet embedded in the end of the internal screw. The compact profile of the sensor allows for installation in limited space applications.The sensor has virtually unlimited cycle life. Special cabling and connectors can be provided.
Haydon's end of stroke proximity sensor, and all Haydon Kerk Motion Solutions products are backed by a technical team which provides extensive customer support and applications assistance.
Technical Data:
| Supply Voltage (VDC): |
3.8 min. to 24 max. |
| Current consumption: |
10 mA max. |
| Output voltage (operated) |
0.15 typ., 0.40 max.; Sinking 20 mA max. |
| Output current |
20 mA max. |
| Output leakage current (released) |
10µA max. @ Vout = 24 VDC; Vcc = 24 VDC |
| Output switching time |
| Rise, 10 to 90%: .05 µs typ., 1.5 µs max. @ Vcc = 12 V, RL = 1.6 KOhm |
Fall, 90 to 10%: .15 µs typ., 1.5 µs max. @ CL = 20 pF |
| Temperature |
-40 to 150C |
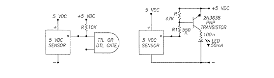
Suggested Interface Diagram
Note: Sensor is category 2 ESD sensitive per DOD-STD-1686A. Assembly operations should be performed at workstations with conductive tops and operators grounded.
PLEASE NOTE THAT A PULL-UP RESISTOR IS REQUIRED FOR THE SENSOR TO OPERATE CORRECTLY.

Dimensions = inches (mm)
The sensor has virtually unlimited cycle life. Special cabling and connectors can also be provided.
Please note: Metric numbers are for reference only.